
本实用新型属于饮用水瓶技术领域,具体涉及一种便携式饮用蜂蜜水瓶及其瓶盖。
背景技术:
蜂蜜是由蜜蜂采集植物蜜腺分泌的汁液酿成,作为一种在世界范围内被广为熟知的高营养天然食品,其味道甜蜜,所含的单糖不需要消化就可以被人体吸收,因此男女老少皆宜食用。蜂蜜中含有与人体血清浓度相近的多种无机盐、维生素、铁、钙、铜、锰、钾、磷等有益人体健康的微量元素以及果糖、葡萄糖、淀粉酶、氧化酶、还原酶等,对人群具有很好的保健作用,比如抗菌消炎、提高免疫力、润燥解毒、保护心血管、美容养颜和促进睡眠等。
在蜂蜜的使用上,新鲜成熟的蜂蜜可直接食用,但多数人会将蜂蜜调配成水溶液来饮用,这是因为蜂蜜水比纯蜂蜜更易被人体吸收且口感更佳。而蜂蜜在使用40℃以下的温开水或凉开水稀释后饮用效果最好,这样既可以避免破坏或杀灭蜂蜜中的营养物质或酶类,又可以达到消暑解热、清凉解渴的目的。由于市售蜂蜜包装普遍偏大不易携带、蜂蜜类饮料添加剂过多损害健康、袋装蜂蜜携带易撒漏、蜂蜜水过早冲泡时间过久易变质等原因,人们若想在户外运动或游玩时饮用蜂蜜水就变得不太方便。另外,天然蜂蜜具有一种比较特殊的性质,即在低温时容易出现结晶,由粘稠的液态逐渐变为半流体直至变为固态,颜色也相应由深变浅。此时,即使在室内,当人们在用勺子等器具挖取蜂蜜冲泡蜂蜜水时就颇为不便,更何况若此时想在室外饮用蜂蜜水就会变得更加麻烦。
而目前现有的可以应用于户外的液体冲饮的便携式水瓶,其设计一般都较为复杂、部件过多,不利于产品的大批量生产,而且也都是储备液体蜂蜜,若水瓶中装入的是天然蜂蜜,当蜂蜜结晶后便无法方便快捷的冲饮蜂蜜水。因此,现在需要一种简便、携带性强及适用于各种温度的饮用蜂蜜水瓶,以此来方便的获取营养美味的天然蜂蜜水。
技术实现要素:
本实用新型的目的在于克服天然蜂蜜不易携带、在户外饮用蜂蜜水不便,尤其是低温蜂蜜结晶无法冲饮等缺陷,提供了一种便携式饮用蜂蜜水瓶及其瓶盖,既可以解决蜂蜜不易携带的问题,又可以根据饮用需求不限地点、时间和温度的冲泡蜂蜜水。
为了实现上述目的,本实用新型采用如下技术方案:
本实用新型提供了一种用于便携式饮用蜂蜜的瓶盖,所述瓶盖包括盖体和蜂蜜储藏罐部分,所述蜂蜜储藏罐部分包括按压杆、蜂蜜储藏罐罐体、活塞块和底盖;所述活塞块设于所述蜂蜜储藏罐罐体内,所述蜂蜜储藏罐罐体底端连接有底盖,所述按压杆竖直置于所述活塞块上。
进一步的,所述盖体通过卡扣式方式连接有保洁盖,所述盖体与蜂蜜储藏罐罐体上端一体式连接。
进一步的,所述活塞块上设有固定片,所述固定片中央具有一个表面积与按压杆横截面积相等的空隙,所述按压杆插入式连接固定片。
进一步的,所述蜂蜜储藏罐罐体的上端具有3~6个等面积的长方形缺口。
进一步的,所述底盖上设有防止与所述蜂蜜储藏罐罐体底端断开的防断开结构。
本实用新型还提供了一种便携式饮用蜂蜜水瓶,包括瓶体及上述所述的用于便携式饮用蜂蜜的瓶盖。
进一步的,所述蜂蜜储藏罐的直径小于所述盖体和瓶体上端端口的直径,所述固定片和活塞块的直径等于所述蜂蜜储藏罐罐体内径。
进一步的,所述活塞块为天然橡胶材质,所述盖体、瓶体、蜂蜜储藏罐罐体、按压杆、底盖、保洁盖和固定片为塑料材质。
进一步的,所述蜂蜜储藏罐与瓶体的体积比为1:20~30。
与现有技术相比较,本实用新型具有如下有益效果:
(1)本实用新型提供的用于便携式饮用蜂蜜的瓶盖是通过按压杆给予活塞块压力,推动蜂蜜下落,因此即使在低温蜂蜜结晶时仍可方便获取营养美味的蜂蜜水,并且蜂蜜储藏罐的部件灵活,可以单独及长期重复使用;
(2)本实用新型提供的饮用蜂蜜水瓶整体设计、使用简单,携带方便,干净卫生,可以将蜂蜜和矿泉水完全分开放置,便于蜂蜜的长期储藏,橡胶活塞块可以增加罐体的密封性及避免蜂蜜的漏出和空气的进入,从而避免蜂蜜变质,也便于蜂蜜水的混匀;且本实用新型成本低廉,适合于大规模生产,因此具有实际的应用价值和广阔的应用前景。
附图说明
图1是本实用新型的平面结构示意图。
图2是本实用新型冲饮蜂蜜时的平面结构示意图。
图3是本实用新型中瓶盖部分与蜂蜜储藏罐部分的结构示意图。
图4是本实用新型中蜂蜜储藏罐内装置的结构示意图。
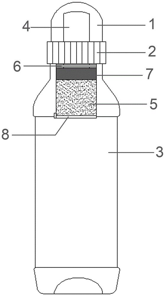
其中,1、保洁盖;2、盖体;3、瓶体;4、按压杆;5、蜂蜜储藏罐罐体;6、固定片;7、活塞块;8、底盖。
具体实施方式
下面结合附图和具体实施方式对本实用新型的技术方案作进一步详细的说明。
实施例1
如图1-4所示的结构示意图,本实用新型所述的便携式饮用蜂蜜水瓶包括瓶盖和瓶体3,其中瓶盖包括盖体2和蜂蜜储藏罐部分,而蜂蜜储藏罐部分则包括按压杆4、蜂蜜储藏罐罐体5、活塞块7及底盖8。盖体2上方通过与保洁盖1通过卡扣式连接或者螺纹连接,盖体2的内螺纹与瓶体3上端端口的外螺纹通过相螺合来实现瓶体和瓶盖的连接。蜂蜜储藏罐罐体5呈圆筒形,其直径小于盖体2和瓶体3上端端口的直径;其上端具有3~6个等面积的长方形缺口并与盖体2一体式连接,可以方便打开保洁盖1后直接有水倒出;蜂蜜储藏罐罐体5底端通过卡扣连接方式连接有底盖8,所述底盖8上设有防止与罐体5底端断开的防断开结构。活塞块7上设有一个固定片6,固定片6中央位置具有一个表面积与按压杆4横截面积相等或稍大的空隙,按压杆4插入空隙与固定片6插入式连接后置于活塞块7上,可以通过按压杆4推动固定片6和活塞块7做向下运动,以此来推动蜂蜜储藏罐罐体5内蜂蜜的下落;固定片6和活塞块7密封安装在蜂蜜储藏罐罐体5内部,它们的直径与蜂蜜储藏罐罐体5的内径相等。活塞块7内部为天然橡胶材质,而其他部件均为塑料材质,这是为了保证天然蜂蜜的新鲜,所以采用橡胶材质的活塞块作为密封块,但是橡胶的材质较软,直接用按压杆不容易将蜂蜜推动,所以在活塞块上设有固定片便于按压杆将蜂蜜推动散入水中。
如图1-2,本实用新型所述的便携式饮用蜂蜜水瓶的使用方法为:在蜂蜜储藏罐罐体5中装有15-25g蜂蜜,瓶体3中装有500ml矿泉水;在使用时,打开保洁盖1,取出按压杆4,将其横截面的长边旋转至与固定片6孔槽的长边成90°后,重新按压到固定片6上,加以力量推动固定片6和活塞块7推动蜂蜜向下运动,此时,储藏罐底盖8的连接卡扣受到压力打开,蜂蜜即刻进入水中,只需盖紧保洁盖1后摇匀即可获得新鲜的蜂蜜水。如图3,若想直接饮用或将瓶中的蜂蜜水倒入其他器皿中,只需打开保洁盖1即可,蜂蜜水便由蜂蜜储藏罐罐体5上端的缺口处流出,饮用非常方便。另外,本实用新型中的蜂蜜储藏罐可以通过旋扭盖体2将其一并取出,取出后,可以彻底打开储藏罐底盖8,使用按压杆4将固定片6和活塞块7推回到原始位置,重新装入蜂蜜后盖好储藏罐底盖8,将按压杆4插回原位,方便再次重复使用。
本实用新型所述的便携式饮用蜂蜜水瓶可以根据实际情况调整水瓶的体积以及蜂蜜储藏罐的体积,当水瓶和蜂蜜储藏罐的体积比为20~30:1时,蜂蜜水浓度最适宜人们饮用,口味最佳并且营养丰富。该便携式饮用蜂蜜水瓶设计和使用均很简单,且携带方便,便于控制蜂蜜的存取量及方便蜂蜜水的混匀,密封性好,可以避免蜂蜜的漏出和空气的进入导致的蜂蜜的变质,且生产成本低,可以重复使用,而且蜂蜜储藏罐中的蜂蜜还可以用于其他的容器。另外,该便携式饮用蜂蜜水瓶也不受温度的限制,即使蜂蜜发生结晶,也不会影响其使用效果,可以在任何地点轻松方便地获得可口的蜂蜜水,因此具有实际的应用价值和广阔的应用前景。
以上实施例仅用以说明本实用新型的技术方案,而非对其进行限制;尽管参照前述实施例对本实用新型进行了详细的说明,对于本领域的普通技术人员来说,依然可以对前述实施例所记载的技术方案进行修改,或者对其中部分技术特征进行等同替换;而这些修改或替换,并不使相应技术方案的本质脱离本实用新型所要求保护的技术方案的精神和范围。
相关知识
蜂蜜的21种食用方法
蜂解·柠檬蜂蜜水
枸杞蜂蜜水的功效与作用
HONEY RELIEF 蜂解 柠檬蜂蜜水分离式蜜汁柠檬水0脂健康果味苏打水饮料整箱6瓶装 35.8元
一生美 清脂蜜强化左旋肉碱饮品 20ml*10瓶 20ml*10瓶做法,功效与作用
不再粘手手,轻松自制「蜂蜜水」
椰枫泰式生榨蜜橙汁果味饮品1.25LX6瓶
一瓶水=3瓶茅台 看看比尔盖茨喝的是什么水?
自制蜂蜜梅子酵素的做法
蜂蜜的食谱方法
网址: 一种便携式饮用蜂蜜水瓶及其瓶盖的制作方法 https://m.trfsz.com/newsview864662.html