
本技术涉及茶染,特别涉及一种茶叶提取物的染色设备。
背景技术:
1、茶染是植物染色工艺(草木染)中的一种,顾名思义就是用茶叶或者茶包染色。广义一点说,从植物提取染料对天然纤维进行染色也算是茶染。对比现代工业化合物染料,茶染更环保健康,颜色更素雅。
2、茶染的工艺较为繁琐,在进行茶染时需要对染液进行搅拌,然后将染布进行浸染,而人为搅拌染液费时费力,会有着色不均的现象,且浸染后的染布需要从染液中捞出,因染液可见度低,捞出时较为不便,因此提出一种茶叶提取物的染色设备。
技术实现思路
1、(一)解决的技术问题
2、针对现有技术的不足,本实用新型提供了一种茶叶提取物的染色设备,解决茶染的工艺较为繁琐,在进行茶染时需要对染液进行搅拌,然后将染布进行浸染,而人为搅拌染液费时费力,会有着色不均的现象,且浸染后的染布需要从染液中捞出,因染液可见度低,捞出时较为不便的技术问题。
3、(二)技术方案
4、为实现以上目的,本实用新型通过以下技术方案予以实现:
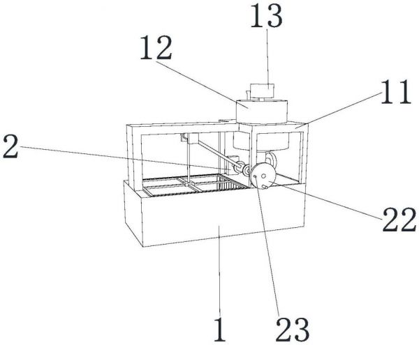
5、一种茶叶提取物的染色设备,包括浸染箱体,所述浸染箱体的上端部固定安装有支撑架,所述支撑架的的上端部固定安装有混合搅拌桶,所述混合搅拌桶的上端部固定安装有伺服电机,所述混合搅拌桶的内侧设置有搅拌叶;
6、其中,所述伺服电机的位置位于混合搅拌桶上端部的轴心位置,所述搅拌叶与伺服电机的输出轴进行固定连接;
7、所述混合搅拌桶的上端部固定安装有下料管,所述下料管的侧端部固定安装有管道球阀,所述混合搅拌桶的上端部固定安装有进料管;
8、其中,所述下料管与浸染箱体之间为贯通的固定连接,所述进料管的位置位于伺服电机的一侧。
9、优选的:所述浸染箱体的上端部固定安装有两个固定块,两个所述固定块上均贯穿的转动套设有转轴,且两侧的转轴互相靠近一段之间固定连接有转动辊,而互相远离一端分别延伸至两侧的固定块互相远离一侧至支撑架的外侧;
10、其中,所述转动辊的位置位于下料管一侧。一侧的所述转轴在支撑架外侧的延伸端固定套装有绞盘,所述绞盘的外缘贯穿的滑动安插有插销;
11、其中,所述支撑架对应绞盘的侧端部开设有套接孔,所述插销与该套接孔进行套接。
12、所述浸染箱体的内侧设置有着色箱,位于转动辊一侧的所述浸染箱体的内侧固定安装有格栅;
13、其中,所述格栅的位置位于固定块的下方。
14、优选的:所述支撑架的下端部固定安装有两个承载块,两个所述承载块的之间转动安装有定向轮,所述着色箱的上端部固定安装有牵引架,所述牵引架与定向轮和转动辊之间设置有牵引绳;
15、其中,所述牵引绳的一端与牵引架进行固定连接,另一端绕过定向轮与转动辊绕设。
16、所述着色箱的下端部贯穿开设有若干滤液孔;
17、其中,每个所述滤液孔均等距排列。
18、(三)有益效果
19、一、插销插入对绞盘进行限位,然后将染布放入着色箱内,之后拔出插销,解除对绞盘的限位,转动绞盘将着色箱放入浸染箱体内,浸染箱体内的染液通过滤液孔进入着色箱内对染布进行浸染,着色完成后,转动绞盘将着色箱升出染液面,染液经由滤液孔漏出,然后将染布取出,通过将基于茶叶提取物的染色设备的着色箱设计为可升降,使得可以将浸染后的染布从染液中析出,避免了因染液可见度低,拿取不便的情况,有效的提高了捞取染布的工作效率。
20、二、搅拌叶转动对混合搅拌桶内的萃取液与水进行搅拌混合,之后转动管道球阀,管道球阀受力转动打开下料管,染液从混合搅拌桶内经由下料管导入浸染箱体内,之后对染布进行浸染,浸染时格栅对染液内的染布进行阻隔,防止染布脱离着色箱的区间,通过将基于茶叶提取物的染色设备加装混合搅拌桶,混合搅拌桶对萃取液与水混合搅拌成嘘嘘混合染液,再由下料管导入浸染箱体内,期间节省了人力,有效的提高了装置的工作效率。
技术特征:
1.一种茶叶提取物的染色设备,包括浸染箱体(1),其特征在于,所述浸染箱体(1)的上端部固定安装有支撑架(11),所述支撑架(11)的上端部固定安装有混合搅拌桶(12),所述混合搅拌桶(12)的上端部固定安装有伺服电机(13),所述混合搅拌桶(12)的内侧设置有搅拌叶(14);
2.根据权利要求1所述的一种茶叶提取物的染色设备,其特征在于,所述浸染箱体(1)的上端部固定安装有两个固定块(2),两个所述固定块(2)上均贯穿的转动套设有转轴,且两侧的转轴互相靠近一端之间固定连接有转动辊(21),而互相远离一端分别延伸至两侧的固定块(2)互相远离一侧至支撑架(11)的外侧;
3.根据权利要求2所述的一种茶叶提取物的染色设备,其特征在于,一侧的所述转轴在支撑架(11)外侧的延伸端固定套装有绞盘(22),所述绞盘(22)的外缘贯穿的滑动安插有插销(23);
4.根据权利要求3所述的一种茶叶提取物的染色设备,其特征在于,所述浸染箱体(1)的内侧设置有着色箱(27),位于转动辊(21)一侧的所述浸染箱体(1)的内侧固定安装有格栅(18);
5.根据权利要求4所述的一种茶叶提取物的染色设备,其特征在于,所述支撑架(11)的下端部固定安装有两个承载块(24),两个所述承载块(24)的之间转动安装有定向轮(25),所述着色箱(27)的上端部固定安装有牵引架(26),所述牵引架(26)与定向轮(25)和转动辊(21)之间设置有牵引绳(29);
6.根据权利要求5所述的一种茶叶提取物的染色设备,其特征在于,所述着色箱(27)的下端部贯穿开设有若干滤液孔(28);
技术总结
本技术涉及茶染技术领域,特别公开了一种茶叶提取物的染色设备,包括浸染箱体,浸染箱体的上端部固定安装有支撑架,支撑架的的上端部固定安装有混合搅拌桶,混合搅拌桶的上端部固定安装有伺服电机,混合搅拌桶的内侧设置有搅拌叶;其中,伺服电机的位置位于混合搅拌桶上端部的轴心位置,搅拌叶与伺服电机的输出轴进行固定连接;混合搅拌桶的上端部固定安装有下料管,下料管的侧端部固定安装有管道球阀,混合搅拌桶的上端部固定安装有进料管。本技术通过将基于茶叶提取物的染色设备的着色箱设计为可升降,使得可以将浸染后的染布从染液中析出,避免了因染液可见度低,拿取不便的情况,有效的提高了捞取染布的工作效率。
技术研发人员:殷锐
受保护的技术使用者:浙江经济职业技术学院
技术研发日:20230821
技术公布日:2024/5/27
相关知识
一种具有茶香茶色的脂溶性茶叶提取物的制备方法
一种绿茶提取物的提取方法与流程
茶叶里提取茶多酚,从茶叶中提取出的神奇物质:茶多酚
茶叶提取物
一种荷叶提取物及其制备方法和应用
一种含三皮罐大叶茶提取物的健康茶类饮品的制作方法
桑叶提取物
茶色素是从茶叶中提取...
一种茶提取液及其制备方法与流程
茶灰中天然茶色素的提取
网址: 一种茶叶提取物的染色设备 https://m.trfsz.com/newsview852142.html